Published:2009/7/15 2:30:00 Author:Jessie | From:SeekIC

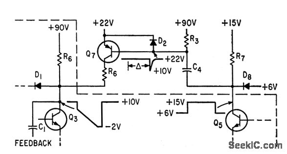
Recharging of solid-state phantastron delay capacitor is reduced to 5microsec by addition of Q7. Circuit of Q7 is inoperative during all other parts of cycle, including quiescent state.-S. R. Parris and D. A Staar, Highly Accurate Phantastron Delay Circuit, Electronics, 33:43, p 72-74.
Reprinted Url Of This Article:
http://www.seekic.com/circuit_diagram/Basic_Circuit/FAST_RECHARGING_PHANTASTRON.html
Print this Page | Comments | Reading(3)
Code: