Published:2009/7/15 3:10:00 Author:Jessie | From:SeekIC

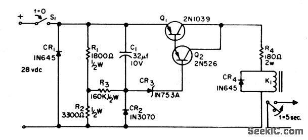
Uses 28-V relay to give delay of 5 sec, with recycle time of 200 millisec. -R.W. Eubank. Fast Cycling Time-Delay.EEE.12:3,p71
Reprinted Url Of This Article:
http://www.seekic.com/circuit_diagram/Basic_Circuit/FAST_RECYCLING_TIME_DELAY_RELAY.html
Print this Page | Comments | Reading(3)
Code: