Published:2009/7/14 4:35:00 Author:May | From:SeekIC

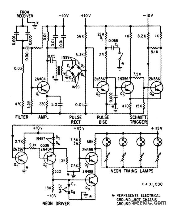
Provides properly synchronized flash illumination for cameras in response to subcarrier pulse commands from uhf receiver.-F. M. Gardner and L. R. Hawn, Camera Control System for Rocket Sled Tests, Electronics, 33:14, p 63-65.
Reprinted Url Of This Article:
http://www.seekic.com/circuit_diagram/Basic_Circuit/FLASH_TIMER.html
Print this Page | Comments | Reading(3)
Code: