Published:2009/7/12 22:19:00 Author:May | From:SeekIC

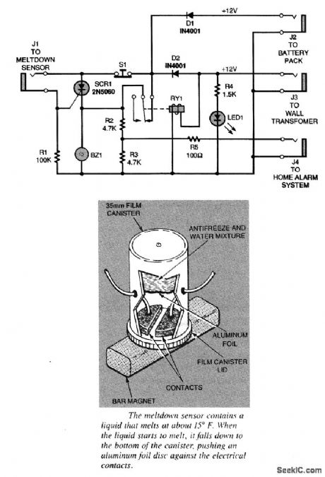
The heart of the circuit is SCR1, a silicon-controlled rectifier. Trigger voltage is supplied through J1 by the meltdown sensor when its contacts close. Resistor R1 is included to prevent any false triggering of SCR1 as a result of voltage fluctuations or noise from the power supply. Once SCR1 is triggered, it latches on, sounding the alarm buzzer until the reset switch (S1) is pressed. The reset switch interrupts current flow through the SCR, letting it turn off. Power for the circuit is supplied by a 12-Vdc wallmounted transformer, which is connected to J3. As long as the wall-mounted power supply is working, relay RY1 will be activated, opening its normally closed contact. Normal power will also be indicated by LED1, withR4 limiting the current flowthrough the light-emitting diode. If the ac powerfails, LED1 will go out and RY1 will deenergize, closing the relay's normally closed contacts. The relay contacts bypass SCR1, sounding the alarm. Backup power for that situation is supplied by a 12-V battery pack, which is connected to the circuit through J2 and D1. Diode D1 prevents the ac-derived power supply from attempting to charge the batteries, and D2 prevents the batteries from lighting the LED or energizing RY1 in the event of ac power failure. An additional feature of the circuit is that since the relay bypasses SCR1 during a loss of ac power, the reset button will not silence the alarm. Regardless of which type of failure caused the alarm to sound, R2 and R3 form a voltage divider that provides a 5-V signal to J4.
Reprinted Url Of This Article:
http://www.seekic.com/circuit_diagram/Basic_Circuit/FREEZER_SENTRY.html
Print this Page | Comments | Reading(3)
Code: