Published:2009/7/14 1:45:00 Author:May | From:SeekIC

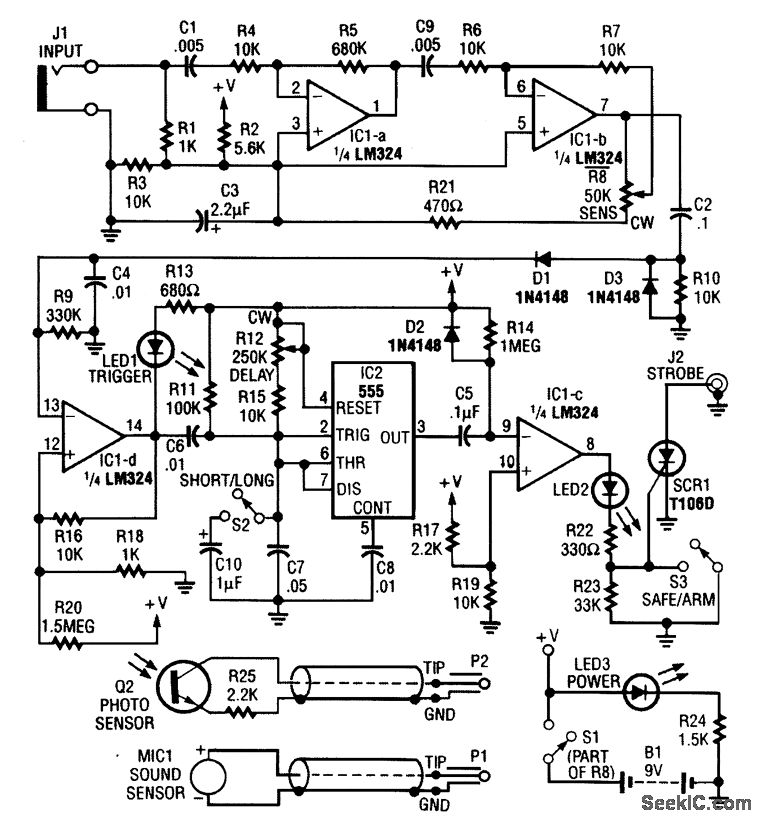
A sensor input from a mike or photodetector is amplified and used to trigger an SCR, which, in turn, triggers a camera strobe. This circuit is useful for freeze-frame photos of phenomena, such as drops of water, explosions, shots, etc.
Reprinted Url Of This Article:
http://www.seekic.com/circuit_diagram/Basic_Circuit/FREEZE_FRAME_STROBE.html
Print this Page | Comments | Reading(3)
Code: