Published:2009/7/2 0:27:00 Author:May | From:SeekIC

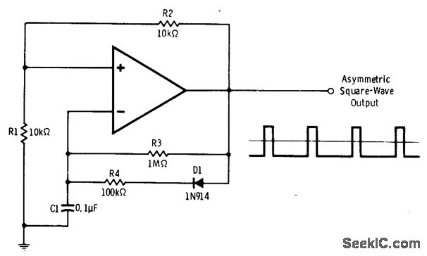
Positive feedback is applied to noninverting input terminal of oparnp through voltage divider R1-R2 to make amplifier switch regeneratively and repetitively between saturated states. Charging time of C controls duration of each state, to give desired free-running multivibrator providing rectangular (pin 6), trapezoidal (pin 3), and sawtooth (pin 2) sym-metrical waveforms. Article gives design equations and waveforms. For nonsymmetrical waveforms, use alternative circuit in place of R; here, diodes switch two different timing resistors into circuit alternately.-G. B. Clayton, Experiments with Operational Amplifiers, Wire-less World, May 1973, p 241-242.
Reprinted Url Of This Article:
http://www.seekic.com/circuit_diagram/Basic_Circuit/FREE_RUNNING.html
Print this Page | Comments | Reading(3)
Code: