Published:2009/7/3 3:15:00 Author:May | From:SeekIC

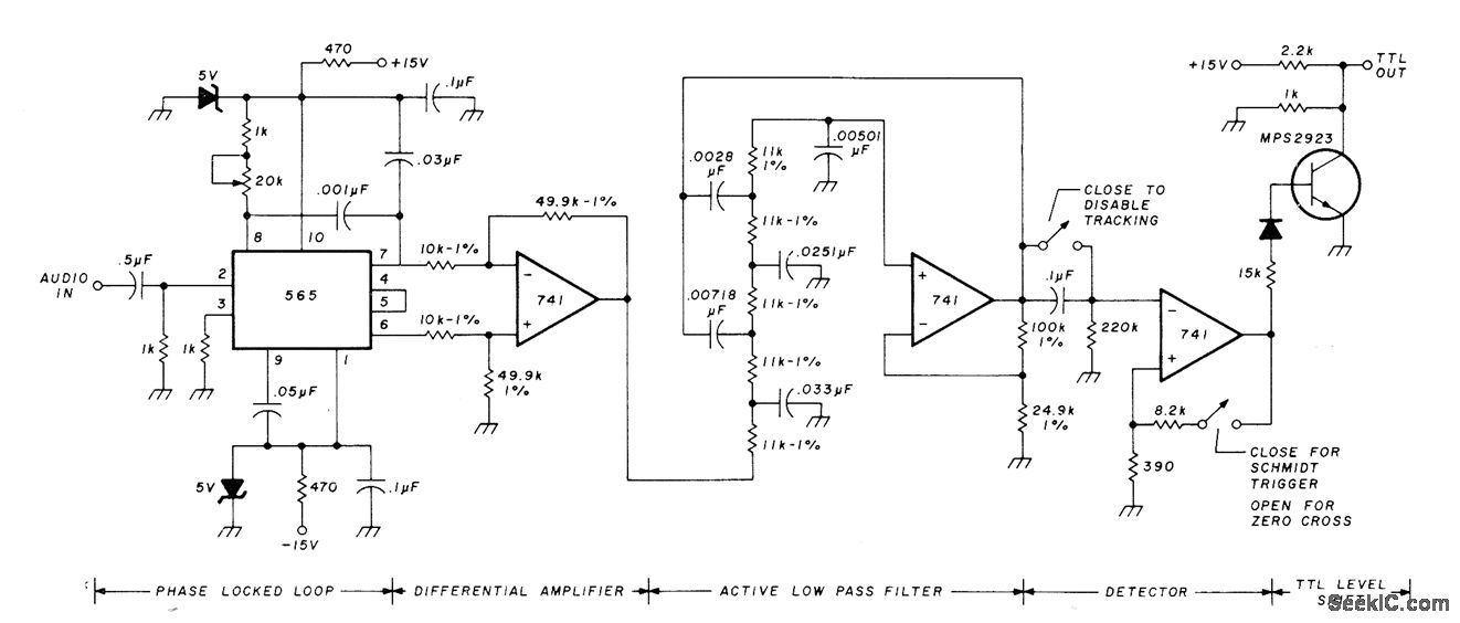
Used at receiving end of satellite system for relaying EKGs, to convert received audio FSK signal to TTL level-shifting output from which original EKG can be obtained. Phase-locked loop tracks input signal frequency and feeds appropriate error signal through differential amplifier to five-pole Butterworth low-pass filter having 1500-Hz cutoff. DC offset is removed by capa-itor coupling, for use in zero-crossing detector or Schmitt-trigger detector. Signal is next converted into TTL-compatible level. Recorded output could not be distinguished from original EKG by doctors.-D. Nelson, Medical Data Relay via Oscar Satellite, Ham Fladio, April 1977, p67-73.
Reprinted Url Of This Article:
http://www.seekic.com/circuit_diagram/Basic_Circuit/FSK_DEMODULATOR_FOR_EKG_RELAY.html
Print this Page | Comments | Reading(3)
Code: