Published:2009/7/13 2:52:00 Author:May | From:SeekIC

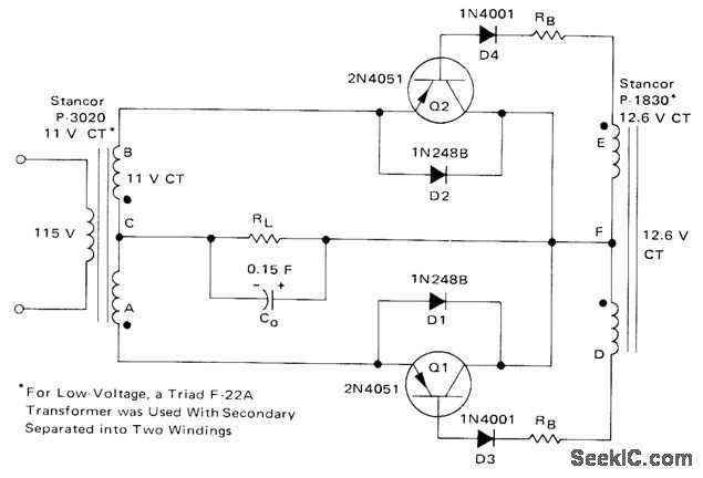
Transistors are biased on alternately by AC input voltage, to supply load current on alternate half-cycles. Silicon diodes D1 and D2 protect transistors from charging current of capacitive load when circuit is turned on, Capacitor discharge problems are minimized by use of diodes D3 and D4 in base circuits of transistors.-B. C. Shiner, Improving the Effilciency of Low Voltage, High-Current Rectification, Motorola, Phoenix, AZ, 1973, AN-517, p 4.
Reprinted Url Of This Article:
http://www.seekic.com/circuit_diagram/Basic_Circuit/FULL_WAVE_SYNCHRONOUS_BECTIFIER.html
Print this Page | Comments | Reading(3)
Code: