Published:2009/7/24 11:23:00 Author:Jessie | From:SeekIC

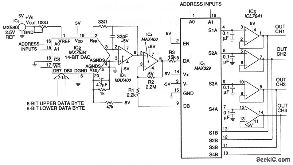
In this circuit, the low-leakage performance of a MAX329 provides an economical way to create four 14-bit DAC outputs from only one 14-bit DAC. Four 0.1-μF capacitors and an ICL7641 quad op amp sample the DAC voltage that is presented by the MUX. The A-section of the MAX329 scans the hold capacitors, while the B section closes a feedback loop, which connects the appropriate buffer within IC6 to a precision op amp (IC4). This loop effectively removes the buffer offset voltage. If a typical MUX charge injection of the 4 pC and a typical leakage (plus op-amp bias) of 1 pA are assumed, the voltage stored on each capacitor drops no more than 1 bit (out of 214) over 2.5 seconds at 25℃ . Maxim, 1992, Appications and Product Highlights, p. 9-5.
Reprinted Url Of This Article:
http://www.seekic.com/circuit_diagram/Basic_Circuit/Four_14_bit_outputs_from_one_DAC.html
Print this Page | Comments | Reading(3)
Code: