Published:2009/7/24 11:30:00 Author:Jessie | From:SeekIC

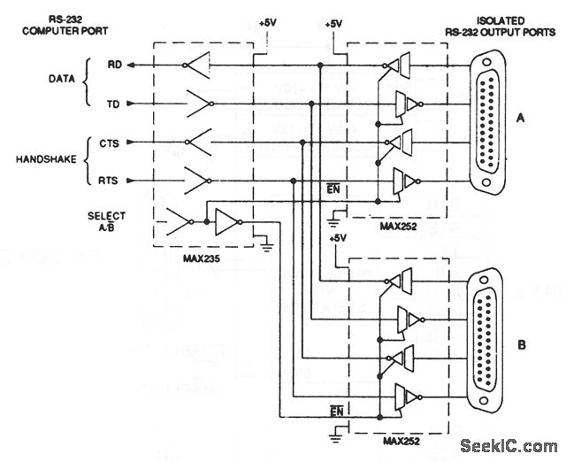
This fully-isolated RS-232 MUX allows a single RS-232 computer port, powered from 5 V, to drive one of two separate remotely located peripherals (typically a data-acquisition satellite and a remote printer). Isolation is useful here because both devices are likely to have ground potentials different from that of the computer. Also, the connection isolates the peripherals from each other as well as the computer. The MAX235 takes RS-232 data and handshake lines and a Select A/B output from the computer and converts them to logic levels. These levels are passed along to both MAX252 isolated transceivers. The RTS line controls which port is selected. Maxim, 1992,Appications and Product Highlights, p. 2-8.
Reprinted Url Of This Article:
http://www.seekic.com/circuit_diagram/Basic_Circuit/Fully_isolated_data_MUX.html
Print this Page | Comments | Reading(3)
Code: