Published:2009/7/1 5:24:00 Author:May | From:SeekIC


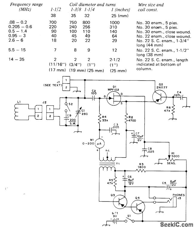
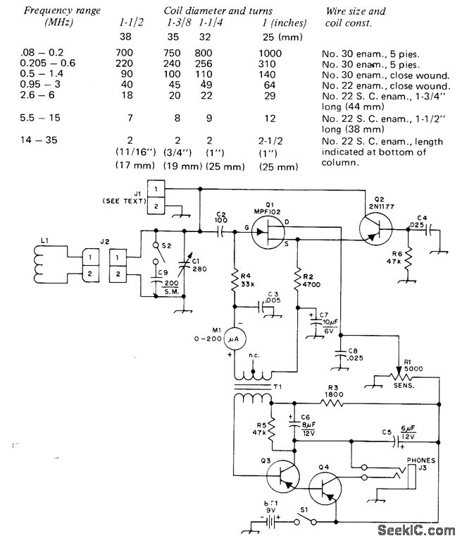
Used to determine resonant frequency of tuned circuit, provide signal for re-ceiver alignment, and make antenna measure-ments. Table gives winding data for plug-in coils L1. Parts values are not critical. T2 is tran-sistor interstage audio transformer with 10,000-ohm primary and 2,000-ohm secondary in meter circuit. JFET a1 is used in common-drain circuit followed by PNP bipolar transistor, with gate junction of JFET acting as rectifier. Dip meter M1 measures gate current, When tuned circuit of dipper is Ioaded by coupling it to extemal cir-cuit, power is absorbed and meter reads dip occurring when L1-C1 is tuned to resonance with external circuit. R1 is regeneration control.Audio amplifer 03-04 using 2N4125 or HEP52, optional, helps in Iistening to signals picked up by tuned circuit or enhances display on CROCan be used as field-strength meter if antenna is plugged into J1.-B. Clark, A Hybrid Gate-Dip Osdllator, QST, June 1974, p 33-37.
Reprinted Url Of This Article:
http://www.seekic.com/circuit_diagram/Basic_Circuit/GATE_DIPPER.html
Print this Page | Comments | Reading(3)
Code: