Published:2009/7/13 3:43:00 Author:May | From:SeekIC

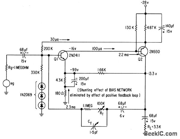
For transducers requiring input impedance above 1 meg. Requires only single Power supply, for direct coupling of low-level high-impedance sources. Voltage gain is stable within 0.05 db of 20 db from -25 to +125℃. Power gain is 46 db and power consumption is only 65 mw.-Texas Instruments Inc., Solid-State Communications, McGraw-Hill, N.Y., 1966, p 294.
Reprinted Url Of This Article:
http://www.seekic.com/circuit_diagram/Basic_Circuit/HIGH_INPUT_IMPEDANCE_FROM_100_CPS_TO_230_KC.html
Print this Page | Comments | Reading(3)
Code: