Published:2009/7/2 22:57:00 Author:May | From:SeekIC


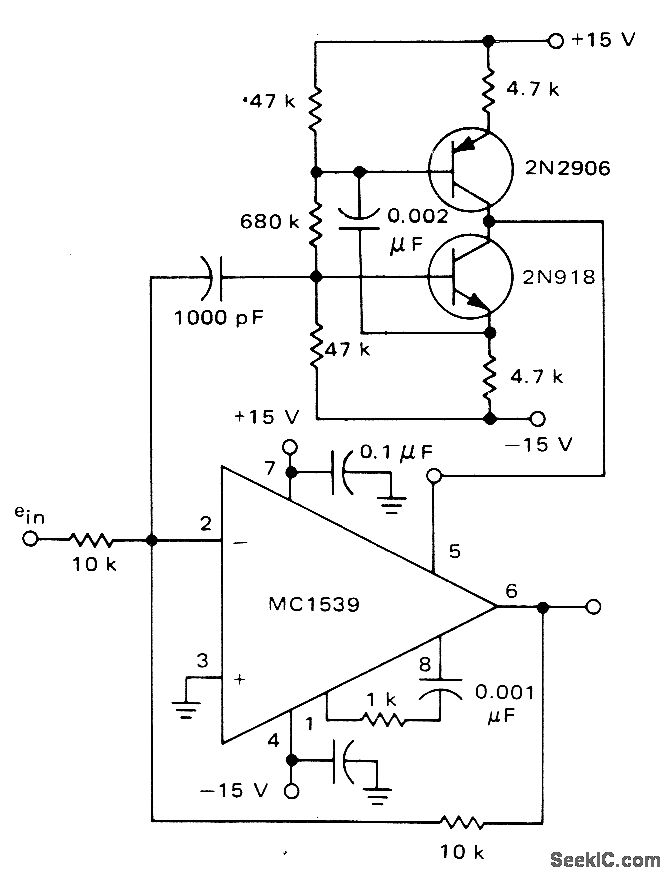
Produces inverted haff-wave replica of input signal with Iow error at frequencies up to 100 kHz. C1 provides feed-forward compensation. For negative-going output. reverse connections to diodes.-W. G. Jung. IC Op-Amp Cookbook. Howard W. Sams. Indianapolis. IN. 1974. p 191-192
Reprinted Url Of This Article:
http://www.seekic.com/circuit_diagram/Basic_Circuit/HIGH_SPEED_HALF_WAVE_RECTIFIER.html
Print this Page | Comments | Reading(3)
Code: