Published:2009/7/23 21:30:00 Author:Jessie | From:SeekIC

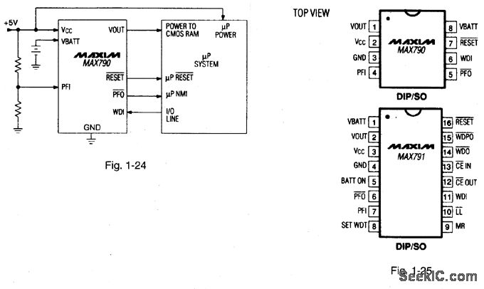
Figures 1-24 and 1-25 show a typical application circuit and pin configurations, respectively, for the MAX790/791. The IC is similar to the MAX690 series (Figs. 1-14 and 1-15), but with several improvements, including 70-μA supply current, 10-ns CE propagation delay, 250-mA output current (VCC mode), and 25-mA output current (VBATT mode). The MAX790 is pin compatible with the MAX690. The reset output is guaranteed to be in the correct state for VCC down to 1 V. MAXIM NEW RELEASES DATA BOOK, 1992, P. 5-53.
Reprinted Url Of This Article:
http://www.seekic.com/circuit_diagram/Basic_Circuit/High_performance_supervisory_circuit.html
Print this Page | Comments | Reading(3)
Code: