Published:2009/7/24 13:05:00 Author:Jessie | From:SeekIC







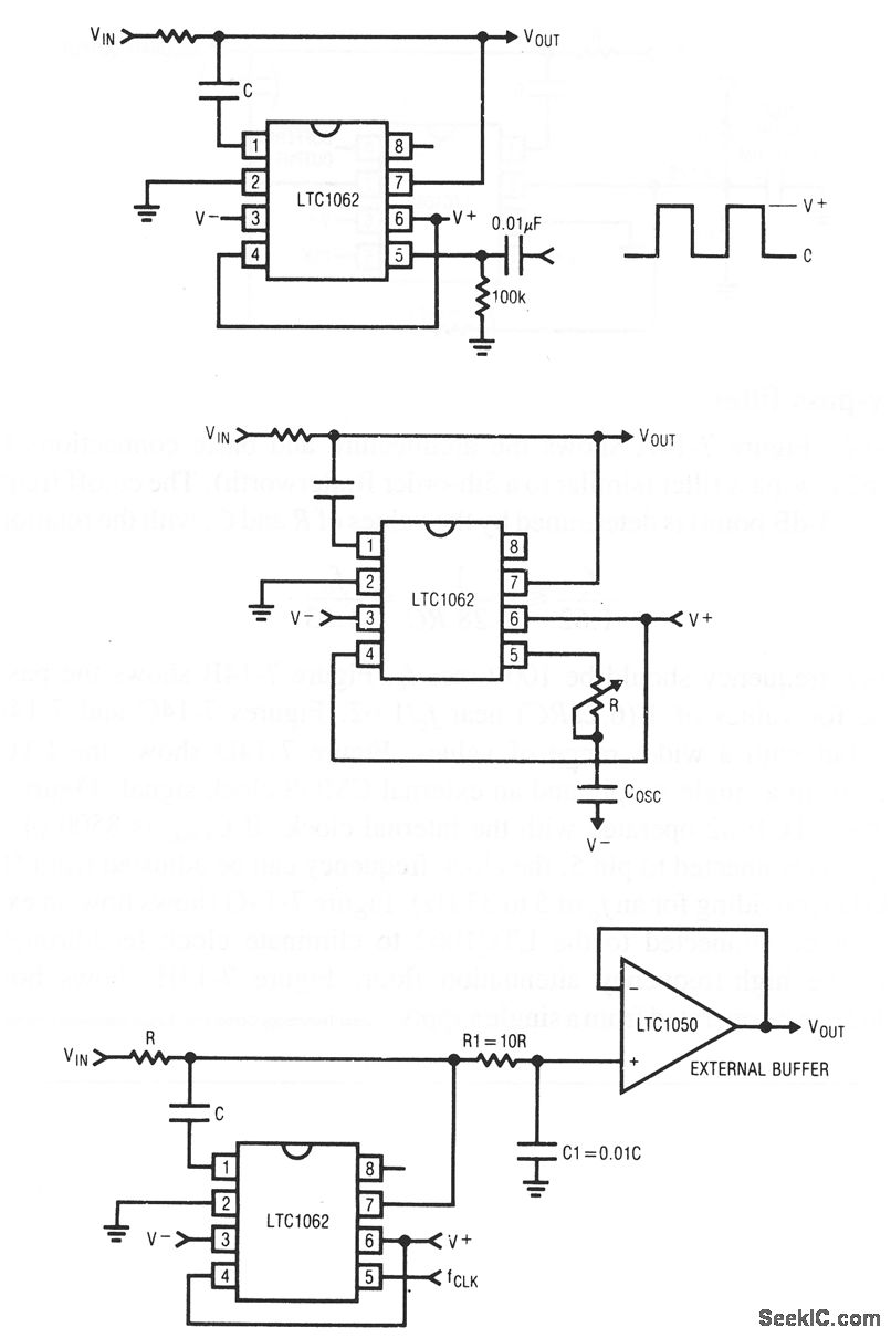
Figure 7-14A shows the architecture and basic connections for an LTC1062 low-pass filter (similar to a 5th-order Butterworth). The cutoff frequency fc (at the -3-dB point) is determined by the values of R and C, with the relationship:
The clock frequency should be 100 times fc,. Figure 7-14B shows the passband response for values of 1/(6.28RC) near fc/1.62. Figures 7-14C and 7-14D are similar, but with a wider range of values. Figure 7-14D shows the LTC1062 operated from a single supply and an external CMOS clock signal. Figure 7-14F shows the LTC1062 operated with the internal clock. If COSC is 8500 pF and a 50-kΩ pot is connected to pin 5, the clock frequency can be adjusted from 500 Hz to 3.3 kHz (providing for an fc of 5 to 33 Hz). Figure 1-14G shows how an extemal buffer can be connected to the LTC1062 to eliminate clock feedthrough and improve the high-frequency attenuation floor. Figure 7-14H shows how the LTC1062 can be operated from a single supply , Linear Technology Corporation, Linear Applications Handbook, 1990, p. AN20-1, -2, -3, -4.
Reprinted Url Of This Article:
http://www.seekic.com/circuit_diagram/Basic_Circuit/IC_Iow_pass_filter.html
Print this Page | Comments | Reading(3)
Code: