Published:2009/7/9 21:25:00 Author:May | From:SeekIC

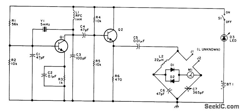
This bridge will measure inductances from about 1 to 30 μH at a test frequency of 5 mHz. A 365-pF AM-type tuning capacitor is used as a variable element. The circuit should be constructed in a metal enclo-sure. Calibration can be done on known inductors or by plotting a curve of the capacitance of the 365-pF capacitor versus rotation and calculating the inductance from this. The range of measurement can be charged by using a different frequency crystal and/or variation of L2 and C6.
Reprinted Url Of This Article:
http://www.seekic.com/circuit_diagram/Basic_Circuit/INDUCTANCE_BRIDGE.html
Print this Page | Comments | Reading(3)
Code: