Published:2009/7/1 1:09:00 Author:May | From:SeekIC

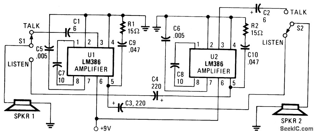
The circuit consists of separate amplifiers-one for each station-rather than a single amplifier and a time sharing arrangement. U1 and U2 are low-voltage audio amplifiers, each of which operates as separate entities with switches at either station controlling which will transmit or receive. With capacitors C7 and C8 included in the circuit, the amplifiers have a gain of 200. Omitting those two components drops the gain to about 20. Other gain levels are available with the addition of a series-connected R/C combination connected between pin 1 and pin 8-for example, a 1000 ohm resistor and 10 μF capaci-tor for a gain of about 150.
Reprinted Url Of This Article:
http://www.seekic.com/circuit_diagram/Basic_Circuit/INTERCOM.html
Print this Page | Comments | Reading(3)
Code: