Published:2009/7/2 3:47:00 Author:May | From:SeekIC

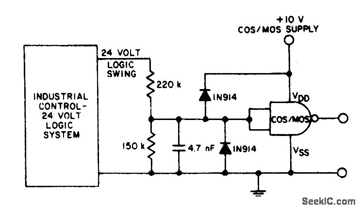
Simple resistive divider circuit provides interfacebetween 24-V logic swing of industrial controlsystem and CMOS logic operating from 10-Vsupply Filter capacitor enhances excellentnoise immunity of CMOS logic Clamp diodesensure thatinput signal voltage is between VDD and Vss-″cos/MOS Integrated Circuits'″RCA Solid State Division, Somerville, NJ, 1977, p628.
Reprinted Url Of This Article:
http://www.seekic.com/circuit_diagram/Basic_Circuit/INTERFACE_FOR_INDUSIRIAL_CONTROL.html
Print this Page | Comments | Reading(3)
Code: