Published:2009/7/1 0:55:00 Author:May | From:SeekIC

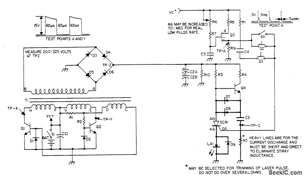
The device generates an adjustable frequency of low to medium powered IR pulses of invisible energy and must be treated with care.The portable battery pack is stepped up to 200 to 300 volts by the inverter circuit consisting of Q1, Q2, and T1. Q1 conducts until saturated, at which time, the base no longer can sustain it in an on state and Q1 turns off, causing the magnetic field in its collector winding to collapse thus producing a voltage or proper phase in the base drive winding that turns on Q2 until saturated, repeating the above sequence of events in an on/off action. The diodes connected at the bases provide a return path for the base drive current. The stepped up squarewave voltage on the secondary of T1 is rectified and integrated on C2.
Reprinted Url Of This Article:
http://www.seekic.com/circuit_diagram/Basic_Circuit/INVISIBLE_INFRARED_PULSED_LASER_RIFLE.html
Print this Page | Comments | Reading(3)
Code: