Published:2009/7/12 21:46:00 Author:May | From:SeekIC

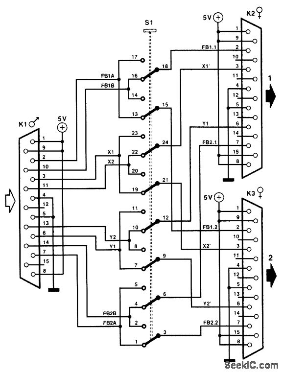
Many I/O cards and sound cards have a standard provision of a 15-way connection for two joysticks. Unfortunately, many programs use the connections for only one joystick. Because often several kinds of joystick are used (in particular, modern flight simulators have provision for very advanced, specialized joysticks), it is frequently necessary to change over connectors. As the joystick connectors are invariably found at the back of the computer, this can be a tedious operation.Moreover, in the long term, it does not do the connectors any good. The present circuit replaces this changing over of connectors by a simple push on a button. In this way, two joysticks can be connected to the computer in a simple and user-friendly way. An eight-pole switch arranges the interconnection of controls X and Y and fire button 1 and fire button 2.
Reprinted Url Of This Article:
http://www.seekic.com/circuit_diagram/Basic_Circuit/JOYSTICK_CHANGEOVER.html
Print this Page | Comments | Reading(3)
Code: