Published:2009/7/10 4:31:00 Author:May | From:SeekIC

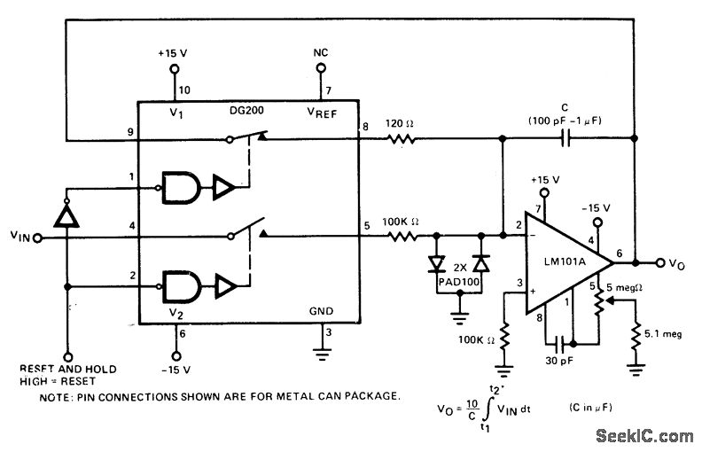
DG200 CMOS analog switch serves for discharging integrator capacitor C rapidly for high logic input pulse, Other section of switch disconnects integrator from analog input when logic goes high. When logic input is returned to low, integrator is triggered. Diodes prevent capacitor from charging to over 15V.- Analog Switches and Their Applications, Siliconix, Santa Clara, CA, 1976, p 7-68.
Reprinted Url Of This Article:
http://www.seekic.com/circuit_diagram/Basic_Circuit/LOGIC_RESETTABLE.html
Print this Page | Comments | Reading(3)
Code: