Published:2009/7/13 5:02:00 Author:May | From:SeekIC

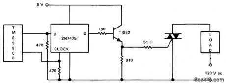
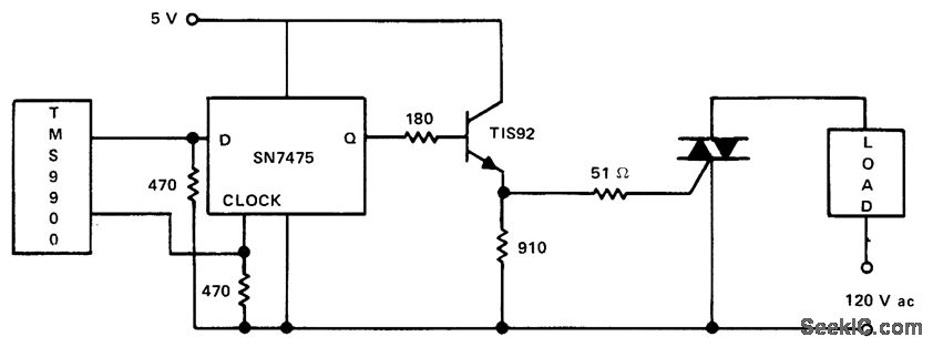
Pulsed output from microprocessor controls gate drive of triac through SN7475 clock and transistor. Pulse from one output port of microprocessor is applied to D input of clock simultaneously with pulse from communications register unit (CRU) going to clock input, to raise Q output of clock to logic 1. Output remains high until another pulse from CRU returns it to zero, thus giving latching action. High output turns on transistor and supplies about l00-mA gate drive to TlC263 25-A triac.- Thyristor Gating for μP Applications, Texas Instruments, Dallas, TX, 1977, CA-191,p4.
Reprinted Url Of This Article:
http://www.seekic.com/circuit_diagram/Basic_Circuit/LOGIC_TRIGGERED_TRIAC.html
Print this Page | Comments | Reading(3)
Code: