Published:2009/7/10 2:28:00 Author:May | From:SeekIC

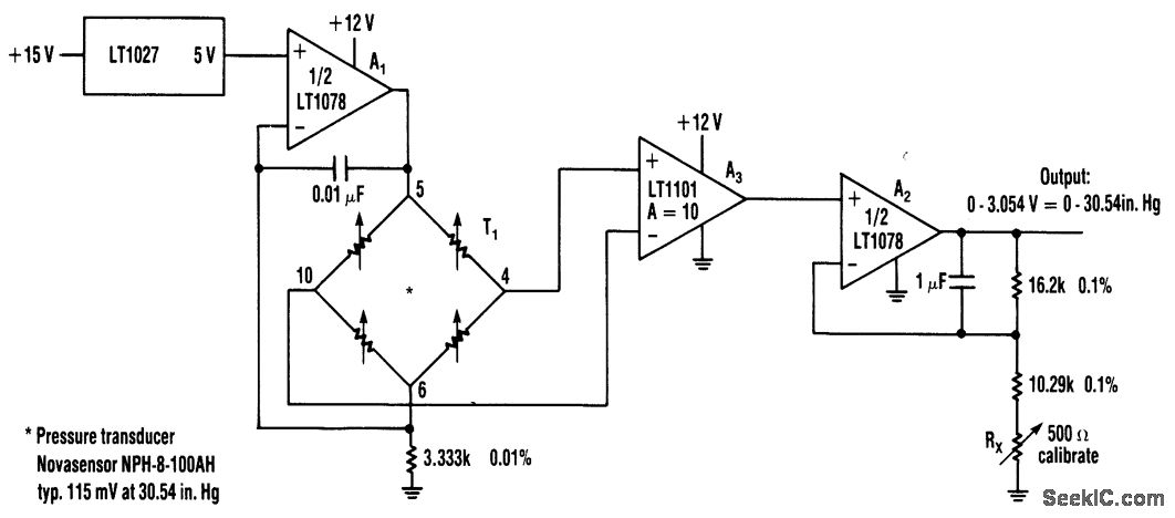
Using Linear Technology LT1027 reference and LT1078 op amps, transducer T1 is fed with 1.5mA.The pressure transducer feeds an amplifier with a gain of 10, then it feeds a voltage follower. Output can either drive an analog meter or a DVM circuit.
Reprinted Url Of This Article:
http://www.seekic.com/circuit_diagram/Basic_Circuit/LOW_COST_BAROMETER.html
Print this Page | Comments | Reading(3)
Code: