Published:2009/7/10 3:10:00 Author:May | From:SeekIC

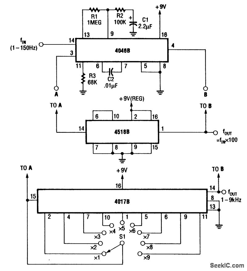
For multiplying frequencies in the 1-to 150-Hz range, this circuit uses a 4046B and a + 100 prescaler. The VCO output is phaselocked to the low-frequency input. This simplifies use of a frequency counter to measure LF signal frequencies.
By using a 4017B and a 1-kHz fIN, the circuit can be used as a 1-to 9-kHz frequency synthesizer or as a x 10 frequency multiplier.
Reprinted Url Of This Article:
http://www.seekic.com/circuit_diagram/Basic_Circuit/LOW_FREQUENCY_PRESCALER.html
Print this Page | Comments | Reading(3)
Code: