Published:2009/7/9 22:20:00 Author:May | From:SeekIC

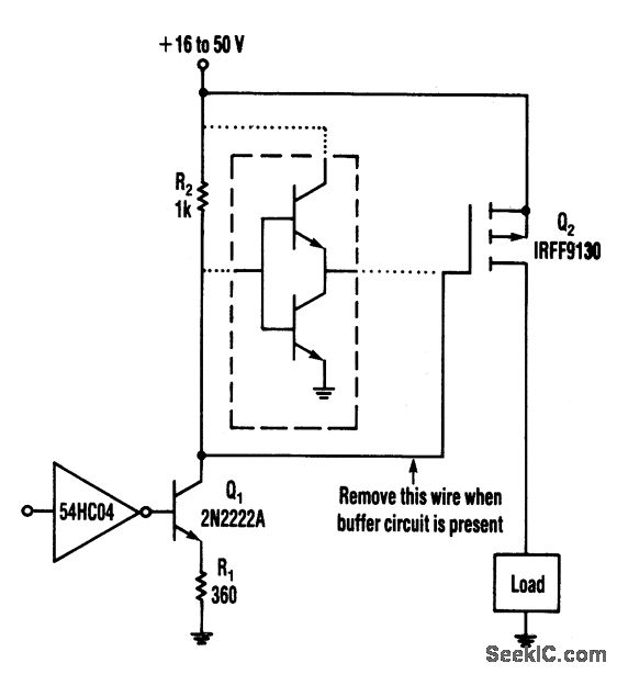
This circuit operates from a 16-to 50-V supply.Adding the buffer circuit(within the dashed lines)offers 100-ns switching times,Otherwise,the circuit switches in 1μs
Q1 and R1 form a switched current source of about 12 mA.The current flows through R2,whichsupplies 12V to the FET.The circuit works well,over a wide range of supply voltages,Furthermore,it switches smoothly in the presence of large ripple and noise on the supply. The switching time(about 1μs)can be reduced considerably by lowering the values of R1 and R2 at the expense of higher power dissipa-tions h the resistors and Q1.Alternatively,a buffer circuit can be added to produce switching times of 100ns without generatmg significant power dissipation.
Reprinted Url Of This Article:
http://www.seekic.com/circuit_diagram/Basic_Circuit/LOW_LEVEL_POWER_FET_DRIVER_METHOD.html
Print this Page | Comments | Reading(3)
Code: