Published:2009/7/2 0:51:00 Author:May | From:SeekIC

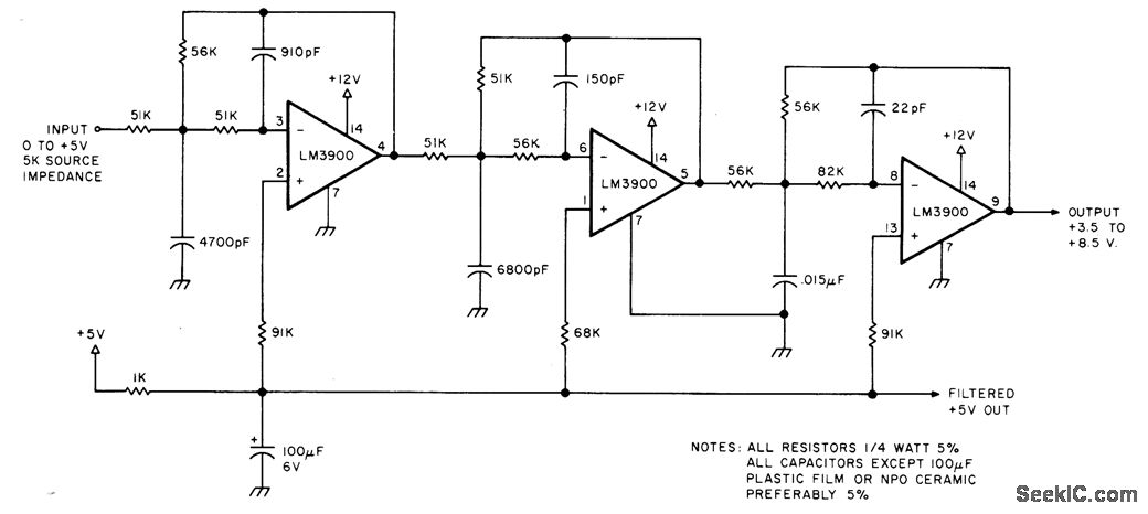
Used in computer music system to suppress high-fidelity distortion resulting from steps in sine-wave output of DAC. Article covers complete computer synthesis of music by microprocessor and gives frequency table. program for generating four simultaneous musical voices, and song table for encoding The Star Spangled Banner in four-part harmony, using 5 bytes per musical event.-H. Chamberlin,A Sampling of Techniques for Computer Performance of MusiC.BYTE.Sept.1977.p62-66.68-70.72.74.76-80.and 82-83.
Reprinted Url Of This Article:
http://www.seekic.com/circuit_diagram/Basic_Circuit/LOW_PASS_WITH_3_kHz_CUTOFF.html
Print this Page | Comments | Reading(3)
Code: