Published:2011/5/22 0:39:00 Author:Michel | Keyword: Load Power Adjustor, Seven | From:SeekIC

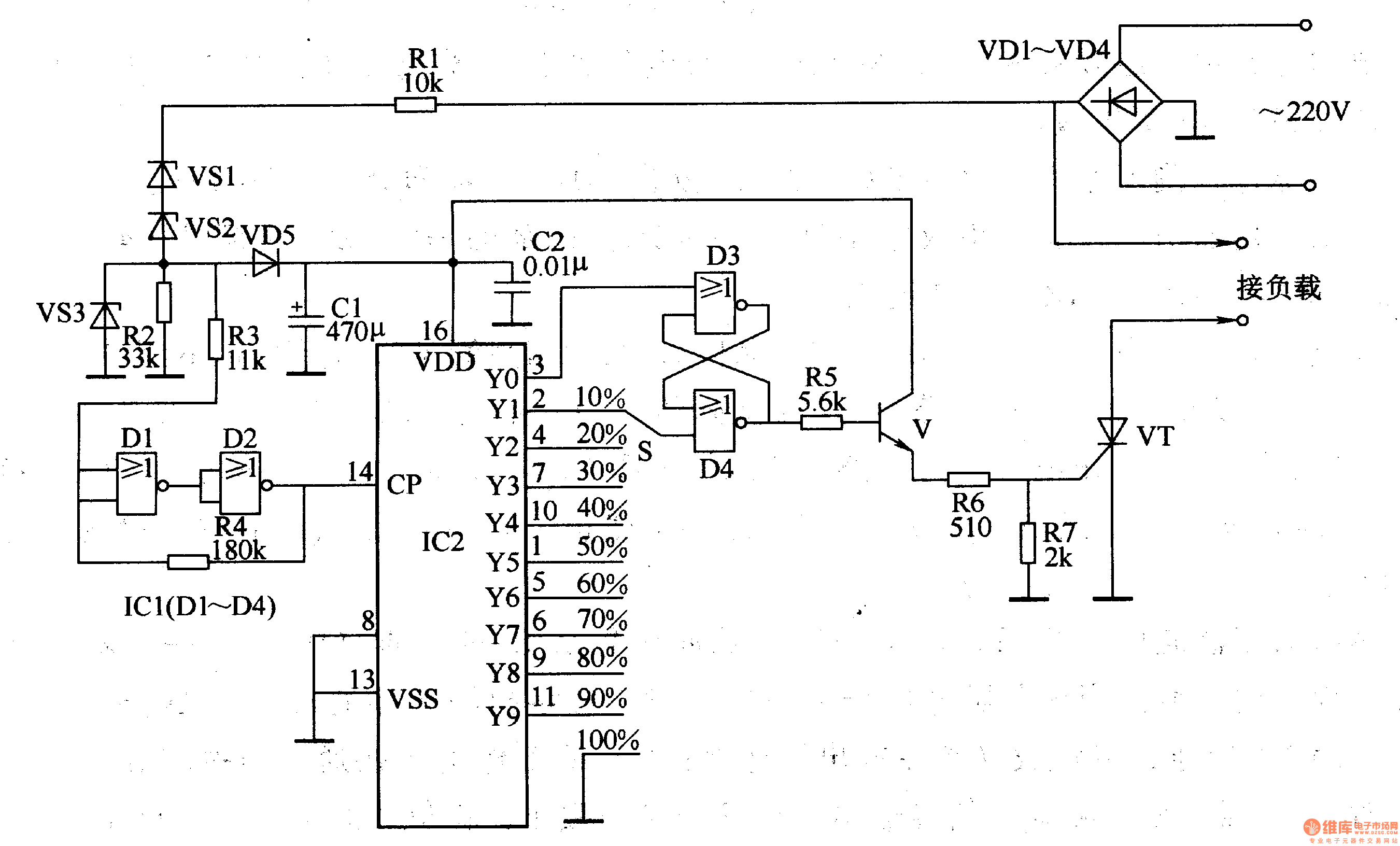
The load power adjustor introduced in the example has simple circuit without obstruction.It divides the bearing power into ten gears(10%-100%) which can be used to adjust electric iron,electric stove and platen heater's power.
Circuit's Work PrincipleThe bearing power adjustor ciruit is composed of power supply circuit,schmitt trigger,counter,allotter,RS trigger and control operation circuit and it is showed as the picture 5-60.The power supply circuit consists of diode,VD1-VD5,current-limiting resistor, R1and R2,voltage regulator diode VS1-VS3 and capacitor,C1 and C2.
Reprinted Url Of This Article:
http://www.seekic.com/circuit_diagram/Basic_Circuit/Load_Power_Adjustor__Seven.html
Print this Page | Comments | Reading(3)
Code: