Published:2009/7/23 21:35:00 Author:Jessie | From:SeekIC

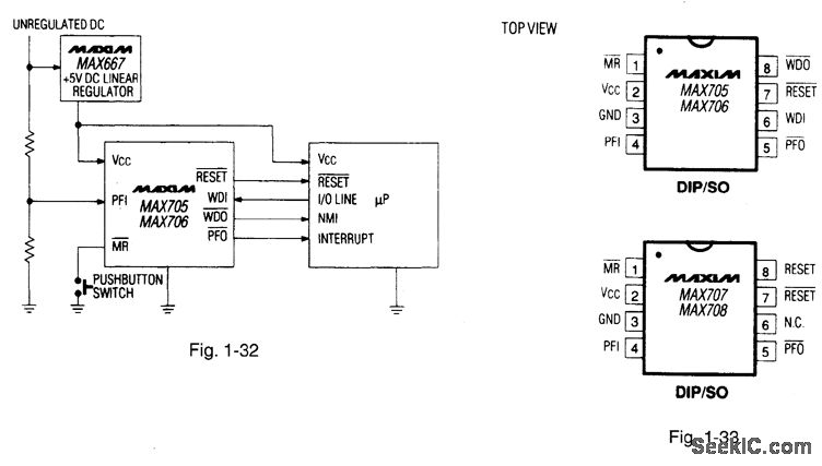
Figures 1-32 and 1-33 show a typical application circuit and pin configurations, respectively, for the MAX705-708. The ICs are similar to that described for Figs. t-J through 1-M, but with generally lower cost. The ICs have a 200-ms reset pulse width, 200-p, A quiescent current, and a 1.25-V threshold detector for power-fail warning, low-battery detection, or for monitoring a power supply other than +5 V.The MAX705/MAX707 generate a reset pulse when the supply is below 4.65V. The MAX706/708 generate a reset below 4.4V. The MAX707/708 is the same as the MAX705/706, except an active-high reset is substituted for the watchdog timer.The watchdog is activated when the WDI input has not been toggled within 1.6 s. MAXIM HIGH-RELIABILITY DATA Book, 1993, P. 5-31.
Reprinted Url Of This Article:
http://www.seekic.com/circuit_diagram/Basic_Circuit/Low_cost_supervisory_circuit_high_reliability_manual_reset.html
Print this Page | Comments | Reading(3)
Code: