Published:2009/7/23 21:34:00 Author:Jessie | From:SeekIC

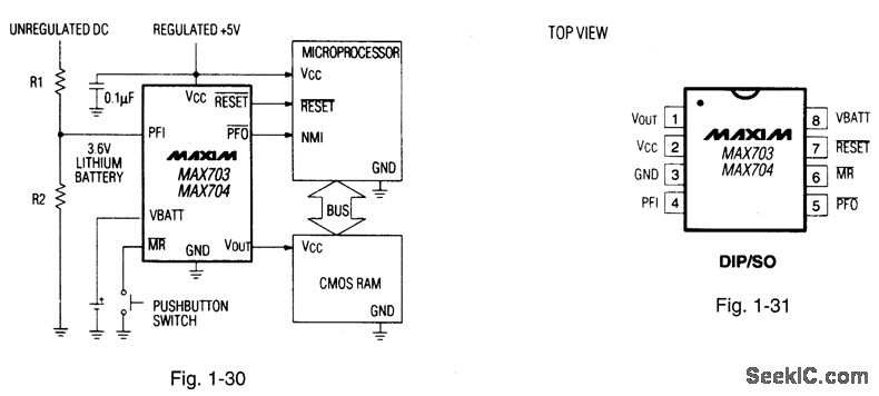
Figures 1-30 and 1-31 show a typical application circuit and pin configurations, respectively, for the MAX703/MAX704. The ICs are similar to that described for Figs. 1-J through 1-M, but with generally lower cost. The ICs have a 200-ms reset pulse width, 200-μA quiescent current, 50-nA quiescent with battery backup, and a 1.25-V threshold detector for power-fail warning, low-battery detection, or for monitoring a power supply voltage other than +5 V. MAXIM HIGH-RELIABILITY DATA Book, 1993, P. 5-29
Reprinted Url Of This Article:
http://www.seekic.com/circuit_diagram/Basic_Circuit/Low_cost_supervisory_circuit_with_battery_backup.html
Print this Page | Comments | Reading(3)
Code: