Published:2009/7/14 1:26:00 Author:May | From:SeekIC

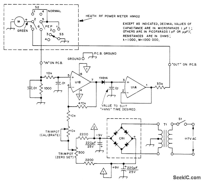
Addition of amplifier and rectifier circuits to Heath HM-102 or other similar RF wattmeter permits measurement of transmitter peak power output. DPDT toggle switch S2 is added to wattmeter to give choice of measurement desired. Circuit uses LM1458 or equivalent dual opamp. Current passing through 1N914 diode charges 0.1-μF capacitor at pin 3 of U1A, delaying meter return to zero long enough for reading of peak. When pointer just starts moving downward, next spoken word kicks it back up to peak value. To calibrate, set 10K pot so peak reading (S2 at PEP) is equal to normal reading (S2 at NORMAL) while using CW output of transmitter as test signal. CR1 is 2-A 50-PlV bridge rectifier. T1 has 12.6.V center-tap 100-mA secondary.-G. D. Rice, PEP Wattmeter-a la Heath, QST, Dee. 1976, p 30-3t.
Reprinted Url Of This Article:
http://www.seekic.com/circuit_diagram/Basic_Circuit/MEASURING_PEAK_POWER.html
Print this Page | Comments | Reading(3)
Code: