Published:2009/7/3 3:26:00 Author:May | From:SeekIC

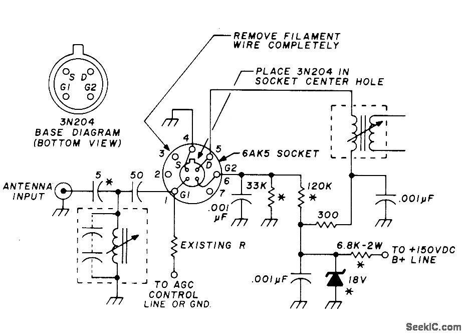
Changing 6AK5 tube to 3N2O4 dual-gate MOSFET improves sensitivity and lowers noise in older VHF FM communication receiver using tubes. Break off center grounding pin of tube socket and cut wires soldered to pin, then connect transistor circuit to tube socket as shown. Replace original resistor going to pin 6 with 120K and run 37K resistor from pin 6 to ground. Move antenna input lead to top of RF input coil, and remove 6-V filament wiring from socket. If tube filaments were in series, replace 6AK5 filament with 36-ohm 2-W resistor. Conversion increases sensitivity to 0.3μγ for 20-dB quieting.-H. Meyer, How to Improve Receiver Performance of Vacuum-Tube VHF-FM Equipment, Ham Fladio, Oct. 1976, p 52-53.
Reprinted Url Of This Article:
http://www.seekic.com/circuit_diagram/Basic_Circuit/MOSFET_RF_STAGE_.html
Print this Page | Comments | Reading(3)
Code: