© 2008-2012 SeekIC.com Corp.All Rights Reserved.
Published:2009/7/23 21:41:00 Author:Jessie | From:SeekIC

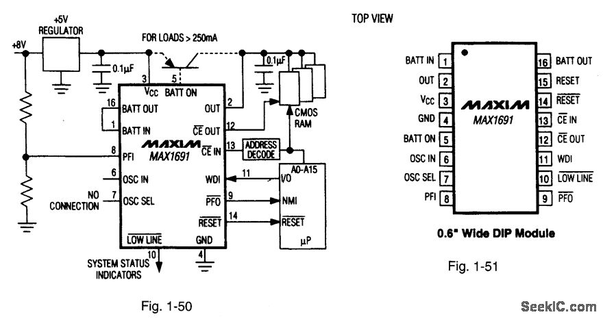
Figures 1-50 and 1-51 show a typical application circuit and pin configuration, respectively, for the MAX1691. The IC switches over to an internal backup battery to provide write protection and a watchdog function. The internal 3-V 125-mAh lithium battery connects to the supervisory circuit through external pin strapping (to minimize battery drain during shipping.) The IC is shipped in special nonconductive material. Storing the IC in conductive foam will discharge the internal battery. The power-OK/reset time delay is 200 ms, and standby current is 1μA, with a typical 35-μA operating current. On-board gating of the chip-enable signals has a maximum delay of 10 ns. MAXIM NEW RELEASES DATA BOOK, 1995, P. 5-7.
Reprinted Url Of This Article:
http://www.seekic.com/circuit_diagram/Basic_Circuit/Microprocessor_supervisor_with_internal_backup_battery.html
Print this Page | Comments | Reading(3)
Response in 12 hours
© 2008-2012 SeekIC.com Corp.All Rights Reserved.
Code: