Published:2009/7/23 21:31:00 Author:Jessie | From:SeekIC

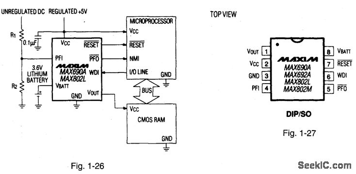
Figures 1-26 and 1-27 show a typical application circuit and pin configurations, respectively, for the MAX690A/MAX802L. The ICs are similar to that described for Figs. 1-J through 1-N, but with added reliability and other reset thresholds. The MAX690A/MAX802L generate a reset pulse when the supply drops below 4.65V, and the MAX692A/MAX802M generate a reset below 4.40 V. The threshold is 1.25V for both power-fail warning and low-battery detection. The reset delay is 200 ms. The watchdog timer has a 1.6-s timeout. Quiescent current is 200μA with normal power and 50nA in battery-backup mode. The power-fail accuracy is ±2% for MAX802L/M. MAXIM HIGH-RELIABILITY DATA Book, 1993, P. 5-17.
Reprinted Url Of This Article:
http://www.seekic.com/circuit_diagram/Basic_Circuit/Microprocessor_supervisory_circuit_high_reliability.html
Print this Page | Comments | Reading(3)
Code: