Published:2009/7/23 21:33:00 Author:Jessie | From:SeekIC

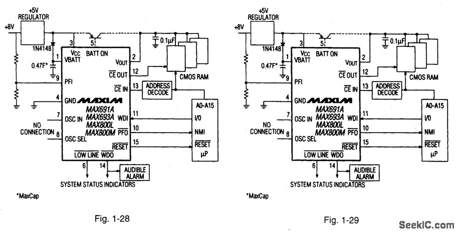
Figures 1-28 and 1-29 show a typical application circuit and pin configurations, respectively, for the MAX691 A /693A /800L / 800M. The ICs are similar to that described for Figs. 1-J through 1-M, but with more reliability and added features.The ICs improve performance with 35-μA supply current, 200-ms typical reset delay on power-up, and 6-ns chip-enable propagation delay. Other features include write protection of CMOS RAM or EEPROM, separate watchdog outputs, battery-backup switchover, and a reset output that is valid with VCC down to 1 V.The MAX691A/MAX800L have a 4.65-V typical reset-threshold. The MAX693A/ MAX800M reset threshold is 4.4V (typical). The MAX800L/MAX800M is guaranteed to deliver power-fail accuracies to 12%. MAXIM HIGH-RELIABILITY DATA Book, 1993, P. 5-19.
Reprinted Url Of This Article:
http://www.seekic.com/circuit_diagram/Basic_Circuit/Microprocessor_supervisory_circuit_high_reliability_added_features).html
Print this Page | Comments | Reading(3)
Code: