Published:2009/7/13 3:42:00 Author:May | From:SeekIC

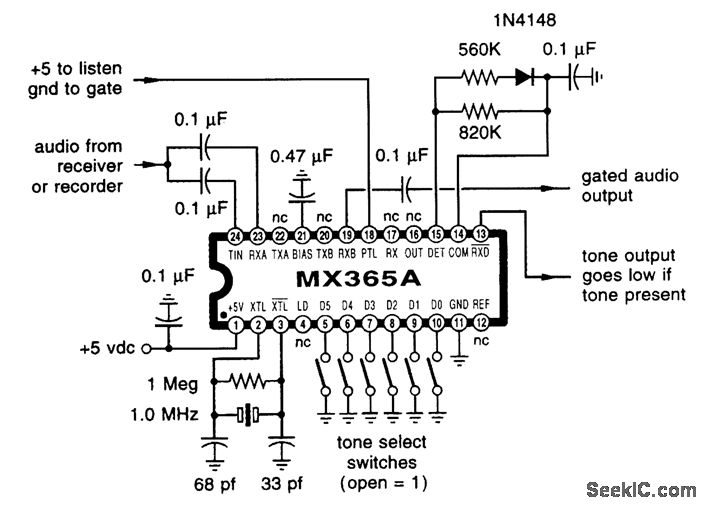
This circuit can be used in a receiver or a repeater to require that a tone be present on a received signal so as to unsquelch the receiver.
Reprinted Url Of This Article:
http://www.seekic.com/circuit_diagram/Basic_Circuit/ONE_IC_TONE_DECODER.html
Print this Page | Comments | Reading(3)
Code: