Published:2009/7/7 22:16:00 Author:May | From:SeekIC

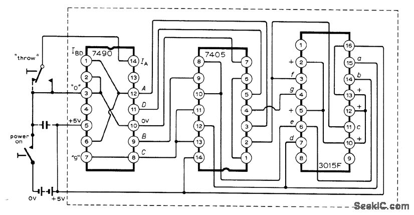
Simple low-cost arrangement of three ICs operating from 5-V battery (four nickel-cadmium or alkaline cells) provides bar display corresponding to spots on six sides of die. Uses SN7490N TTL decade counter with SN7405 hex inverter to drive Minitron 3015F seven-segment display. Article describes operation in detail and suggests variations for Arabic and binary displays.-G,J,Naaijer,Electronic Dice,Wireless World,Aug 1973,p401-403.
Reprinted Url Of This Article:
http://www.seekic.com/circuit_diagram/Basic_Circuit/Other_Circuit/DICE.html
Print this Page | Comments | Reading(3)
Code: