Published:2009/7/1 0:32:00 Author:May | From:SeekIC

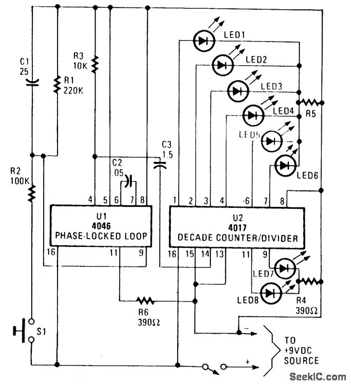
U1 (a 4046 PLL containing a voltage controlled oscillator or VCO, two phase comparators, a source follower, and a Zener diode) is used to produce a low-frequency, pulsed output of about 40 Hz. The VCO's frequency range is determined by R6 and C2, which can. be altered by varying the voltage at pin 9. The rising voltage causes the frequency to rise from zero to threshold and remain at that frequency as long as 51 is closed. When S1 is opened, C1 discharges slowly through RI to ground and the voltage falls toward zero. That produces a decreasing pulse rate. The output of UI at pin 4 is connected to the clock input of U2 (a 4017 decade decoder/driver) at pin 14 via C3. U2 sequentially advances through each of its ten outputs (0 to 9)-pins 1 to 7, and 9 to 11-with each input pulse. As each output goes high, its associated LED is lighted, and extinguished when it returns to the low state. Only eight outputs are used in the circuit, giving two numbers to the spinner of the house. The circuit can be set up so that the LED's lights sequence or you can use some staggered combination; the LEDs grouped in a straight line or a circle.
Reprinted Url Of This Article:
http://www.seekic.com/circuit_diagram/Basic_Circuit/Other_Circuit/ELECTRONIC_ROULETTE.html
Print this Page | Comments | Reading(3)
Code: