Published:2009/6/25 23:47:00 Author:May | From:SeekIC

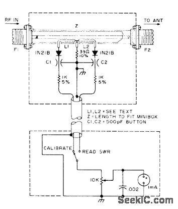
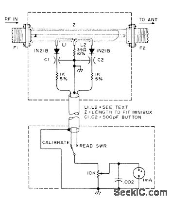
Permits measuring standing-wave ratio well above limits of many inex-pensive indicators. Fot transmitters up to 2 W, coupling loop L1-L2 can be about 1 inch long.For high-power transmitters, loop length can be reduced to about 1/8 inch.-W. E. Parker, UHF SWR Indicator, 73 Magazine, June 1977, p 68-70.
Reprinted Url Of This Article:
http://www.seekic.com/circuit_diagram/Basic_Circuit/Other_Circuit/SWR_T0_500_MHz.html
Print this Page | Comments | Reading(3)
Code: