Published:2009/7/9 4:41:00 Author:May | From:SeekIC

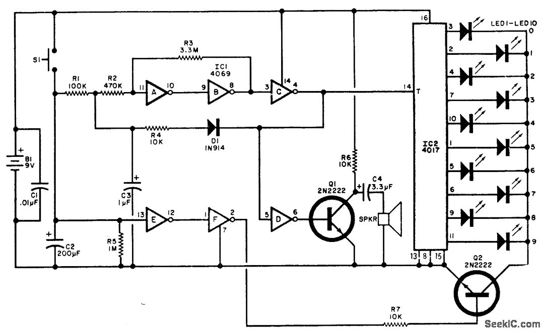
This circuit is a 10-LED spinning wheel that clicks as the wheel passes each point. The rotation starts fast, then gradually slows down to a random stop (with a click at each position). After the rotation ceases, the selected LED stays lit for about 10 seconds, then goes out. The cycle restarts by depressing
Reprinted Url Of This Article:
http://www.seekic.com/circuit_diagram/Basic_Circuit/Other_Circuit/WHEEL_OF_FORTUNE.html
Print this Page | Comments | Reading(3)
Code: