Published:2009/7/1 1:10:00 Author:May | From:SeekIC

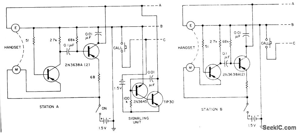
A large number of intercom stations can be tied together. All units are connected in parallel, and the entire system is buzzed by only one signaling circuit. Each unit is powered individually from 1.5-V cells for redundancy. For greater signal volume, 3-V sources can be used for the supplies without changing any other parts of the system. The carbon microphone of a standard telephone handset at each station feeds into a common-base amplifier, and a tandem high-gain common-emitter stage drives the intercom line. All phone earpieces are in parallel across the line. The signaling circuit, also connected across the line, is a simple oscillator that drives all the earpieces.
Reprinted Url Of This Article:
http://www.seekic.com/circuit_diagram/Basic_Circuit/PAFITY_LINE_INTERCOM.html
Print this Page | Comments | Reading(3)
Code: