Published:2009/7/10 1:39:00 Author:May | From:SeekIC



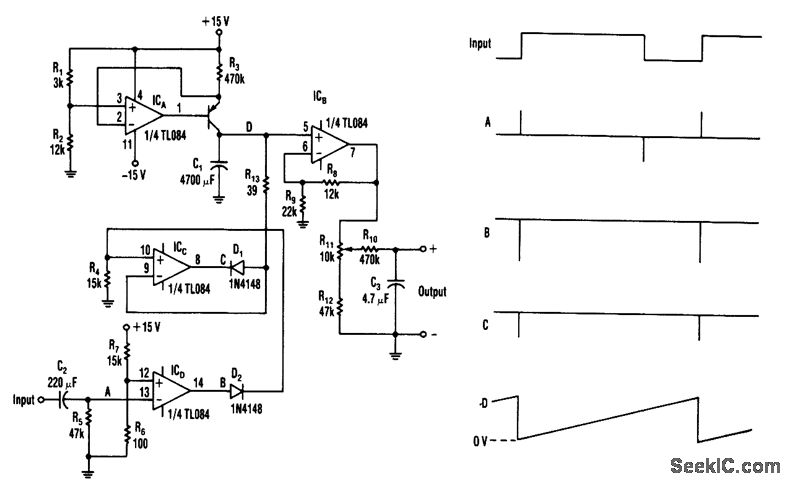
ICA,R1, R2, R3, and Q1 form a current source. The current that charges C1 is given by:
The input signal drives ICD. Because ICD's positiveinp ut (V+)is slightly offset to +0.1V, its steady state output will be around + 13 V. This voltage is sent to ICC through D2, setting ICC's output to + 13 V.Therefore, point D is cut off by D1, and C1 is charged by the current source. Assuming the initial voltage on C1 is zero, the maximum voltage (VCmax) is given by:
If f=1 ms, then VCmax = 362 V.
When the input goes from low to high, a narrow positive pulse is generated at point A. This pulse becomes - 13 V at point B, which cuts off D2. ICC's V+ voltage becomes zero. The charge on C1 will be absorbed by ICC on in a short time. The time constant of C2 and R5 determines the discharge period-about 10 ps. ICB is a buffer whose gain is equal to (R8+R9)÷R9-1.545. ICD's average votiage will be (1362fx1.545)÷2=1052t. R10 and C3 smooth the sawtooth waveform to a dc output.
Reprinted Url Of This Article:
http://www.seekic.com/circuit_diagram/Basic_Circuit/PERIOD_TO_VOLTAGE_CONVERTER.html
Print this Page | Comments | Reading(3)
Code: