Published:2009/7/15 1:41:00 Author:Jessie | From:SeekIC

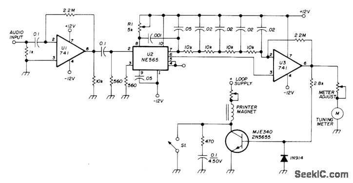
Uses 741 opamp as limiter, followed by NE565 phase-locked loop, another opamp U3 operating as voltage comparator or slicer, and keying transistor. Terminal requires no filters because incoming signal locks onto VCO whose frequency is placed between those of mark and space tones. As these tones alternate, output of PLL is made to pro-duce plus and minus voltages by connecting voltage comparator to output of NE565. Resulting plus voltage corresponds to mark tone and minus voltage to space tone for use in keying loop circuit of teleprinter. R1 is only adjustment required; article covers adjustment for receiver in SSB mode and in CW mode.-N. Stinnette, Phase-Locked Loop RTTY Terminal Unit, Ham Radio, Feb. 1975, p 36-37.
Reprinted Url Of This Article:
http://www.seekic.com/circuit_diagram/Basic_Circuit/PLL_RTTY_TERMINAL.html
Print this Page | Comments | Reading(3)
Code: