Published:2009/7/1 23:21:00 Author:May | From:SeekIC

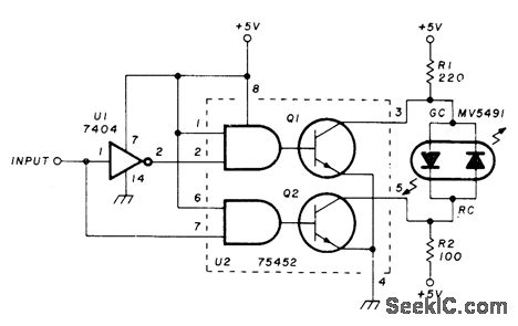
Uses Monsanto MV5491 dual LED having red and green light emitting diodes connected inversely in parallel,so current in onedirection gives green light and reverse current gives red. Circuit uses single SN75452 IC driver and one section of SN7404 hex inverter. High or positive input gives red indication, while low input gives green. Current limiting resistors R1 and R2 have different values because voltage and current specifications of parallel LEDs are different. Indicator appears to change color as input changes.-K. Powell,Novel Indicator Circuit, Ham Radio, April 1977,p 60-63.
Reprinted Url Of This Article:
http://www.seekic.com/circuit_diagram/Basic_Circuit/POSITIVE_INPUT_GIVES_RED.html
Print this Page | Comments | Reading(3)
Code: