Published:2009/7/14 3:56:00 Author:May | From:SeekIC

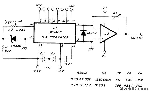
Uses D/A converter and 2.5-V zener to form digitally programmed voltage reference. Binary-coded TTL information selects voltage ranges of 0-2.55 V or 0-25.5 V. Can be used as lab source having 10 mV per step in low range and 100 mV per step in high range. Output is adjusted with 8-bit input control. R3 determines basic voltage range, being set at 1280 ohms for low range and 12.8K for high range, Although 741 or other general-purpose opamp is adequate for low range, higher-voltage single-supply opamp such as 759 is better for high range and for both ranges, because it gives higher output current on low range.-W. Jung, An IC Op Amp Update, Ham Radio, March 1978, p 62-69.
Reprinted Url Of This Article:
http://www.seekic.com/circuit_diagram/Basic_Circuit/PROGRAMMED_0_255_V.html
Print this Page | Comments | Reading(3)
Code: