Published:2009/7/3 5:23:00 Author:May | From:SeekIC

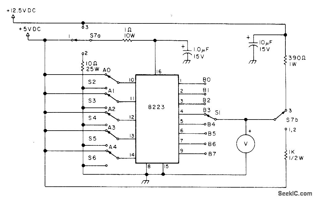
Can be used to blow links one by one, as required, on 8223 programmable read-only memory and on 82S23 Schottky version. Article covers construction, pretesting, and operation.-R. M. Stevenson, An 82S23 PROM Programmer!, 73 Magazine, June 1977, p 82-83.
Reprinted Url Of This Article:
http://www.seekic.com/circuit_diagram/Basic_Circuit/PROM_PROGRAMMER.html
Print this Page | Comments | Reading(3)
Code: