Published:2009/7/15 5:19:00 Author:Jessie | From:SeekIC

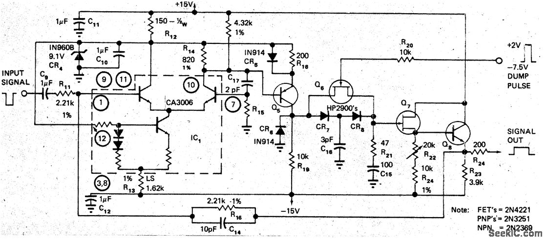
Peak detection diodes CR7 and CR8 in feedback loop of unity-gain CA3006 differential opamp form peak holder that maintains amplitude of narrow video pulses while stretching output pulses as much as 6000 times (from 50 ns to as much as 300 μs). Gain of circuit is unity. Article describes timing and control circuits required in conjunction with peak holder to achieve predictable termination times for stretched pulses, These external circuits include μA710 used as threshold limiter, 9602 dual monostable used as delay-pulse and dump-pulse timing generators, and discrete transistor stage serving as dump-pulse output stage.-B. Pearl, Peak Holder Stretches Narrow Video Pulses, EDN Magazine, Feb. 5, 1973, p 46-47
Reprinted Url Of This Article:
http://www.seekic.com/circuit_diagram/Basic_Circuit/PULSE_WIDENER.html
Print this Page | Comments | Reading(3)
Code: