Published:2011/7/1 1:05:00 Author:Nicole | Keyword: shaking table, governor | From:SeekIC

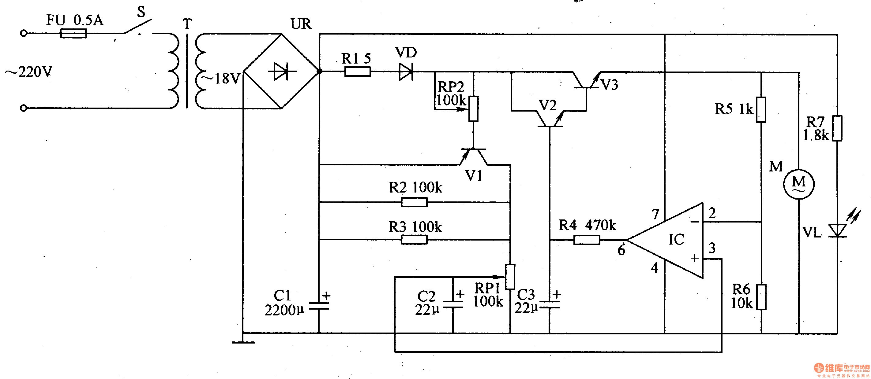
The plane shaking table governor circuit is composed of power supply input circuit and environment speed regulation control circuit, it is shown in the figure 9-159.
The power supply input circuit is made of fuse FU, power switch S, power transformer T, bridge rectifiers UR, filter capacitor C1, current limiting resistor R7 and power indication LED VL.
The speed regulation control circuit consists of resistors R1-R6, potentiometers RP1, RP2, capacitors C2, C3, diode VD, transistors V1-V3, operation amplifier IC and motor M.
Reprinted Url Of This Article:
http://www.seekic.com/circuit_diagram/Basic_Circuit/Plane_shaking_table_governor.html
Print this Page | Comments | Reading(3)
Code: