© 2008-2012 SeekIC.com Corp.All Rights Reserved.
Published:2009/7/23 21:40:00 Author:Jessie | From:SeekIC


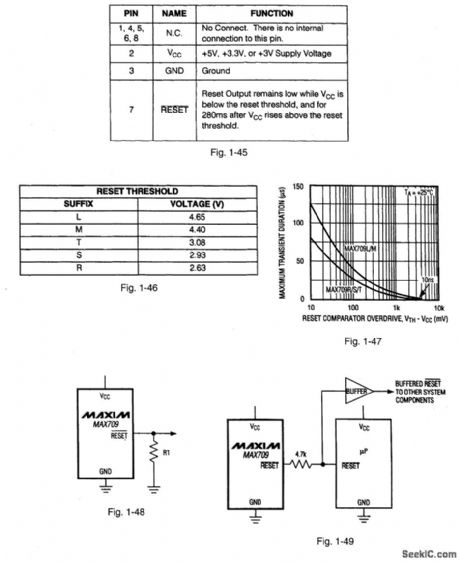
Figures 1-43, 1-44, and 1-45 show a typical application circuit, pin configuration, and pin descriptions, respectively, for the MAX709, The IC provides a system reset during power up, power down and brownout conditions. When VCC falls below the reset threshold (Fig. 1-46), RESET becomes low and holds the microprocessor for 140 ms (minimum) after VCC rises above the threshold. The RESET output is guaranteed to be in the correct state with VCC down to 1 V. The IC is relatively immune to short-duration negative-going VCC transients (glitches), as shown in Fig. 1-47. Figure 1-48 shows the addition of R1 when the RESET output must be valid down to 0 V. The value of R1 should be about 100 kΩ, but it is not critical. Figure 1-49 shows the circuit for interfacing to microprocessors with bidirection reset pins (such as the Motorola 68HC11 series). MAXIM NEW RELEASES DATA BOOK, 1994, P. 5-67, 5-70, 5-71.
Reprinted Url Of This Article:
http://www.seekic.com/circuit_diagram/Basic_Circuit/Power_supply_monitor_with_reset.html
Print this Page | Comments | Reading(3)
Response in 12 hours
© 2008-2012 SeekIC.com Corp.All Rights Reserved.
Code: