Published:2009/7/23 22:33:00 Author:Jessie | From:SeekIC

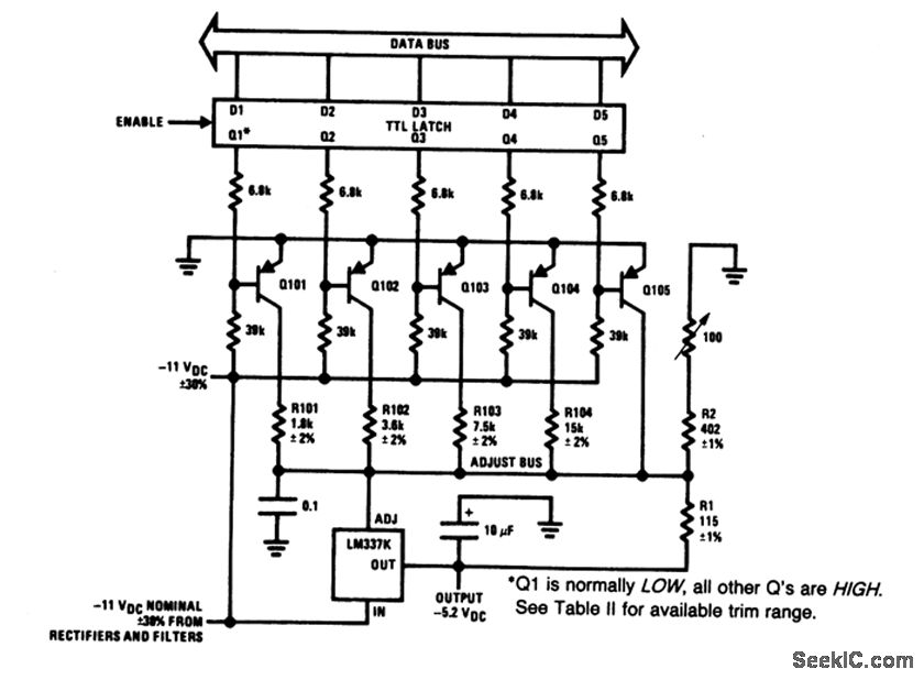
This circuit is similar to that of Fig. 6-62, except that the output is are shown in Fig. 6-63. To calibrate, apply 0111 to TTL latch, and adjust P1 for 5.200-V output.
Reprinted Url Of This Article:
http://www.seekic.com/circuit_diagram/Basic_Circuit/Programmable_power_supply_negative_output.html
Print this Page | Comments | Reading(3)
Code: