Published:2011/6/27 2:07:00 Author:Nicole | Keyword: psychological stress, alleviating | From:SeekIC

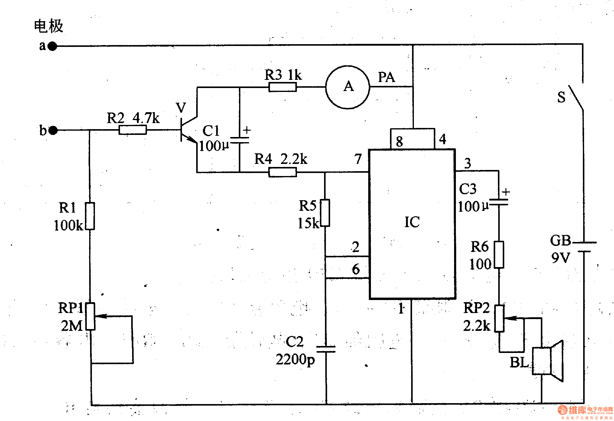
This psychological stress alleviating circuit is composed of skin resistance detection/indication circuit and audio circuit, it is shown in the figure 9-148.
The skin resistance detection/indication circuit is made of electrodes a, b, resistors R1-R4, potentiometer RP1, capacitor C1, transistor V and ammeter PA.
The audio circuit consists of time base integrated circuit IC, resistors R5, R6, capacitors C2, C3, volume potentiometer RP2 and loudspeaker BL. The monostable multivibrator circuit is composed of IC and R5.
After the power supply switch S is connected, GB provides the whole machine with 9V DC working voltage.
Reprinted Url Of This Article:
http://www.seekic.com/circuit_diagram/Basic_Circuit/Psychological_stress_alleviating_1.html
Print this Page | Comments | Reading(3)
Code: